Knife Life

Форум любителей холодного оружия

* Вход  * FAQ    * Поиск
Текущее время: Чт апр 23, 2026 19:20

Сообщения без ответов | Активные темы


Список форумов » Ножевые форумы » Мастерская

Часовой пояс: UTC + 3 часа [ Летнее время ]


Информация к размышлению...



Начать новую тему Ответить на тему  Страница 1 из 1
 [ Сообщений: 23 ] 
  Версия для печати Пред. тема | След. тема 
Автор Сообщение
Билли Бонс
 Заголовок сообщения: Информация к размышлению...
СообщениеДобавлено: Пт мар 20, 2009 2:23 
Вот есть гриндер.Неважно точило это просто или ленточный.Как сделать устройство,по типу фрезера чтобы выводить спуски на заготовке зажав эту заготовку в устройство и чтобы плавно регулировать поступление и углы спусков прижимая заготовку к гриндеру?Идеи крутятся,чуть позже выскажу....А какие у "Кулибиных" соображения?


Вернуться к началу
  
 
дед Димон
 Заголовок сообщения: Re: Информация к размышлению...
СообщениеДобавлено: Пт мар 20, 2009 14:27 
Уменя с разными механизмами лучше и быстрее чем в ручную на камне (большой наждак диаметр от 300мм)не получается. :lol: Есть два гриндера(к одному приспособлен резцедержатель от токарного стонка,две подачи- к ленте и вдоль) и шлифстанок с магитной плитой и тисками.


Вернуться к началу
  
 
Билли Бонс
 Заголовок сообщения: Re: Информация к размышлению...
СообщениеДобавлено: Пт мар 20, 2009 17:15 
дед Димон писал(а):
Уменя с разными механизмами лучше и быстрее чем в ручную на камне (большой наждак диаметр от 300мм)не получается. :lol: Есть два гриндера(к одному приспособлен резцедержатель от токарного стонка,две подачи- к ленте и вдоль) и шлифстанок с магитной плитой и тисками.
А можно фотку попросить с резцедержателем в котором закреплена заготовка и это все вместе прислонено к кругу?Я пытаюсь решить задачу как зажать заготовку так чтобы держалка не касалась круга и в то-же время доступ ко всей плоскости заготовки был.


Вернуться к началу
  
 
Михалыч
 Заголовок сообщения: Re: Информация к размышлению...
СообщениеДобавлено: Пт мар 20, 2009 17:34 
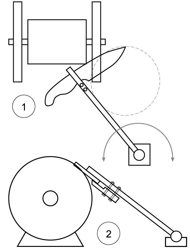
Как насчет маленьких тисков, которые на шарнире? Вернее, двух, одни тиски зажаты в другие тиски, во вторые тиски зажимается сама заготовка. Получается три степени свободы. :)


Вернуться к началу
  
 
Билли Бонс
 Заголовок сообщения: Re: Информация к размышлению...
СообщениеДобавлено: Пт мар 20, 2009 20:37 
Михалыч писал(а):
Как насчет маленьких тисков, которые на шарнире? Вернее, двух, одни тиски зажаты в другие тиски, во вторые тиски зажимается сама заготовка. Получается три степени свободы. :)
Хм....а как зажать чтобы тиски не касались круга?За хвостовик?И еще,как перевернув заготовку на другую сторону сохранить тот-же угол прилегания?У шарниров очень "Гуляющие" углы.Один раз ослабил-всё сбилось во всех плоскостях.Нужно нечто ,зажимающее заготовку и точно,по делениям регулируемое в 3-х плоскостях:Влево-вправо,вперед (к кругу),назад и наклон по отношению к кругу.Блин....даже в 4-х плоскостях((((Я не учел по плоскости вниз-вверх иначе не сделать ровный спуск-все будут вогнутые....или...О!Крепить заготовку перпендикулярно.


Вернуться к началу
  
 
дед Димон
 Заголовок сообщения: Re: Информация к размышлению...
СообщениеДобавлено: Пт мар 20, 2009 20:48 
Билли Бонс писал(а):
Я пытаюсь решить задачу как зажать заготовку так чтобы держалка не касалась круга и в то-же время доступ ко всей плоскости заготовки был.

Есть простое решение.Завтра сделаю и сфоткаю,но приспособа будет к шлифстанку :lol:
И еще,как перевернув заготовку на другую сторону сохранить тот-же угол прилегания
У меня на станке реверс есть :wink:
А с прямыми спусками не заморачиваюсь,пробовал на шлифстанке- долго,руками на гриндере быстрее.


Вернуться к началу
  
 
Clegg
 Заголовок сообщения: Re: Информация к размышлению...
СообщениеДобавлено: Пт мар 20, 2009 20:53 
вот мнится мне, что в мастерской на гансе видел темы про гриндеры с обильными фотографиями, в т.ч. и с приспособами для крепления обрабатываемых клинков... думается, если там порыться - вполне можно найти готовые решения


Вернуться к началу
  
 
shtirliz
 Заголовок сообщения: Re: Информация к размышлению...
СообщениеДобавлено: Пт мар 20, 2009 23:54 
Чего то нашел . Второй эзкиз не много для других целей, вдруг пригодиться....


Вложения:
tn_guides.gif
tn_guides.gif [ 11.14 КБ | Просмотров: 15770 ]
Безымянный.JPG
Безымянный.JPG [ 38.69 КБ | Просмотров: 15004 ]
Вернуться к началу
  
 
Билли Бонс
 Заголовок сообщения: Re: Информация к размышлению...
СообщениеДобавлено: Сб мар 21, 2009 2:02 
Интересное решение!Спасибо,shtirliz.
Дед Димон,очень интересно будет глянуть.


Вернуться к началу
  
 
Билли Бонс
 Заголовок сообщения: Re: Информация к размышлению...
СообщениеДобавлено: Сб мар 21, 2009 2:07 
shtirliz,на первом фото (там где зеленый камень) не совсем понятно как клинок прикладывается или крепится.Или это просто схема площадки?


Вернуться к началу
  
 
Михалыч
 Заголовок сообщения: Re: Информация к размышлению...
СообщениеДобавлено: Сб мар 21, 2009 2:17 
По ходу просто площадка... Туда-сюда двигается. Но зачем тогда такие длиные болты? К ним крепится держалка для заготовки? Тогда какой смысл в площадке?
Ждем Штирлица. Центр - Штилицу: перехожу на прием. :)


Вернуться к началу
  
 
shtirliz
 Заголовок сообщения: Re: Информация к размышлению...
СообщениеДобавлено: Сб мар 21, 2009 10:43 
Конструкция с болтами, не совсем отвечает требованиям Билли Бонса, - это просто механизм для вывода ровных линз. Болты - это направляющие. Сейчас попробую словами объяснить чего и куда - рисовать лень. Клинок ничем не крепится - держим руками. Одну плоскость клинка прижимаем к болтам(так чтобы клинок находился между болтами и кругом) и опускаем вниз (другая плоскость будет стачиваться),при этом угол между кругом и клинком будет постоянный, и высоту спусков также просто контролировать...


Если не понятно объяснил - извиняйте..... Буду рисовать картинку =).

Только, вот в чем вопрос, Билли - зачем вам это, на ваших работах и так хорошие спуски , все эти приспособы для начинающих ИМХО....


Вернуться к началу
  
 
Билли Бонс
 Заголовок сообщения: Re: Информация к размышлению...
СообщениеДобавлено: Сб мар 21, 2009 17:33 
shtirliz писал(а):
Конструкция с болтами, не совсем отвечает требованиям Билли Бонса, - это просто механизм для вывода ровных линз. Болты - это направляющие. Сейчас попробую словами объяснить чего и куда - рисовать лень. Клинок ничем не крепится - держим руками. Одну плоскость клинка прижимаем к болтам(так чтобы клинок находился между болтами и кругом) и опускаем вниз (другая плоскость будет стачиваться),при этом угол между кругом и клинком будет постоянный, и высоту спусков также просто контролировать...


Если не понятно объяснил - извиняйте..... Буду рисовать картинку =).

Только, вот в чем вопрос, Билли - зачем вам это, на ваших работах и так хорошие спуски , все эти приспособы для начинающих ИМХО....
Если я правильно понял ваше обьяснение,то т.к. зазор между болтами (шпильками) меньте толщины клинка (чтобы клинок стачиваясь опирался на них),а направление движения круга вниз,то клинок заклинит между шпильками и камнем и камень разлетится.Опасно.
Насчет зачем-сильная экономия времени)


Вернуться к началу
  
 
дед Димон
 Заголовок сообщения: Re: Информация к размышлению...
СообщениеДобавлено: Сб мар 21, 2009 19:12 
Вот собрал приспособу,работает как в ручную так и механически,в ручную быстрее.Для механической обработки требуется небольшая доработка(сделать напровляющий упор для клинка чтобы не отгибался и зажим,одного болта мало.


Вложения:
Шлиф.jpg
Шлиф.jpg [ 179.92 КБ | Просмотров: 15012 ]
шлиф1.jpg
шлиф1.jpg [ 164.56 КБ | Просмотров: 15013 ]
шлиф2.jpg
шлиф2.jpg [ 171.84 КБ | Просмотров: 15010 ]
Вернуться к началу
  
 
Билли Бонс
 Заголовок сообщения: Re: Информация к размышлению...
СообщениеДобавлено: Вс мар 22, 2009 1:08 
Вещ!Но тут явно за основу какой-то станок взят?


Вернуться к началу
  
 
дед Димон
 Заголовок сообщения: Re: Информация к размышлению...
СообщениеДобавлено: Вс мар 22, 2009 10:21 
Билли Бонс писал(а):
Вещ!Но тут явно за основу какой-то станок взят?

Да,шлифовальный с камнем до 200мм. Я на нем и фрезерные работы делаю :wink:


Вложения:
шлиф ст.1.jpg
шлиф ст.1.jpg [ 131.29 КБ | Просмотров: 14800 ]
Вернуться к началу
  
 
shtirliz
 Заголовок сообщения: Re: Информация к размышлению...
СообщениеДобавлено: Пн мар 23, 2009 9:51 
Билли Бонс писал(а):
,а направление движения круга вниз,то клинок заклинит между шпильками и камнем и камень разлетится.Опасно.


Согласен - собственно это и остановило от изготовления данного устройства...

Дед Димон, а можно подробнее? Если я правильно понял, стол двигается в одном направлении (перпендикулярно оси вращения двигателя), клинок при этом зажат. То есть можно проточить участок спусков равный ширине круга , а потом перезажать клинок и проделать это еще раз? Или есть какой то механизм движения заготовки вдоль оси вращения диска?


Вернуться к началу
  
 
дед Димон
 Заголовок сообщения: Re: Информация к размышлению...
СообщениеДобавлено: Пн мар 23, 2009 14:35 
Дед Димон, а можно подробнее? Если я правильно понял, стол двигается в одном направлении (перпендикулярно оси вращения двигателя), клинок при этом зажат. То есть можно проточить участок спусков равный ширине круга , а потом перезажать клинок и проделать это еще раз? Или есть какой то механизм движения заготовки вдоль оси вращения диска?[/quote]
Не,стол имеет 200мм хода по оси,500мм перпендикулярно оси и 170мм вертикально,скорость вращения 800 об.мин.,движок трехфазник 1,2кв,перпендикулярный ход быстрый - рычагом,остальные подачи винтовые с точнастью 1сотка(я на нем клапанные пятаки шлифую после притирки клапонов) :wink:


Вернуться к началу
  
 
shtirliz
 Заголовок сообщения: Re: Информация к размышлению...
СообщениеДобавлено: Вт мар 24, 2009 10:15 
дед Димон, спасибо за разъяснение. Даже с одной осью хорошо, а если все три, то вообще супер - зачетный станок!!!!


Вернуться к началу
  
 
Билли Бонс
 Заголовок сообщения: Re: Информация к размышлению...
СообщениеДобавлено: Вт мар 24, 2009 17:21 
Но тем не менее это был изначально уже готовый станок....Смысл в том чтобы самому можно было такую приспособу сделать.


Вернуться к началу
  
 
Михалыч
 Заголовок сообщения: Re: Информация к размышлению...
СообщениеДобавлено: Вт мар 24, 2009 18:11 
В сомнении я, что можно сделать ХОРОШУЮ приспособу самому... Как не крути, а прецизионные детали необходимы, а их на коленке не выточишь.


Вернуться к началу
  
 
Билли Бонс
 Заголовок сообщения: Re: Информация к размышлению...
СообщениеДобавлено: Вт мар 24, 2009 19:56 
Михалыч писал(а):
В сомнении я, что можно сделать ХОРОШУЮ приспособу самому... Как не крути, а прецизионные детали необходимы, а их на коленке не выточишь.
Ну хоть что-то из общедоступных частей которые без труда можно найти в любом хоз.магазине.Это понятно что тиски,например, в земляной яме никто сам отливать не будет...)
Что-то гениальное есть в этой приспособе на шарнире (на схеме выше),но и что-то не хватает...Наверное слабовата фиксация клинка и нет каких-либо ммм.... разметок что ли.Хорош сам принцип,но недоработано что-то.


Вернуться к началу
  
 
Валерий
 Заголовок сообщения: Re: Информация к размышлению...
СообщениеДобавлено: Пт мар 27, 2009 23:15 
Блин, давным-давно работал в столярке. Был у нас хороший станочный парк. Был и заточной станок для заточки дисковых пил, ножей для рубанков. Попробую, если смогу, нарисовать схему приспособы для заточки с выдержкой углов. Вот только не вполне уверен, что эта приспособа подойдет для вывода спусков на клинке с большой плоскостью. А сам я всегда вручную затачивал и стамески, и ножи для рубанков. У меня хорошее чувство угла было, ко мне все обращались :)


Вернуться к началу
  
 
Показать сообщения за:  Поле сортировки  
Начать новую тему Ответить на тему  Страница 1 из 1
 [ Сообщений: 23 ] 

Список форумов » Ножевые форумы » Мастерская

Часовой пояс: UTC + 3 часа [ Летнее время ]


Кто сейчас на конференции

Сейчас этот форум просматривают: нет зарегистрированных пользователей и гости: 4


Вы не можете начинать темы
Вы не можете отвечать на сообщения
Вы не можете редактировать свои сообщения
Вы не можете удалять свои сообщения
Вы не можете добавлять вложения

Найти:
Перейти:  
Powered by phpBB® Forum Software © phpBB Group
Русская поддержка phpBB
www.copyright.ru
Объявления Advertisement Management. Перевод от FladeX.